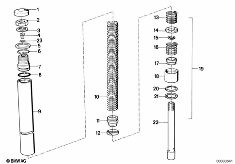
Telescopic Forks, Telelever for 1988 BMW-Motorrad R 100 RS
No.
Part # / Description / Price
Price
No.
Part # / Description / Price
Price
No.
Part # / Description / Price
Price
No.
Part # / Description / Price
Price
3
Pan-Head Machine Screw, Black - M10X45
BMW-Motorrad
BMW-Motorrad Notes: Only applies to. Fg* K75C 0 113 805/K75C usa 0 130 55 3.
No.
Part # / Description / Price
Price





